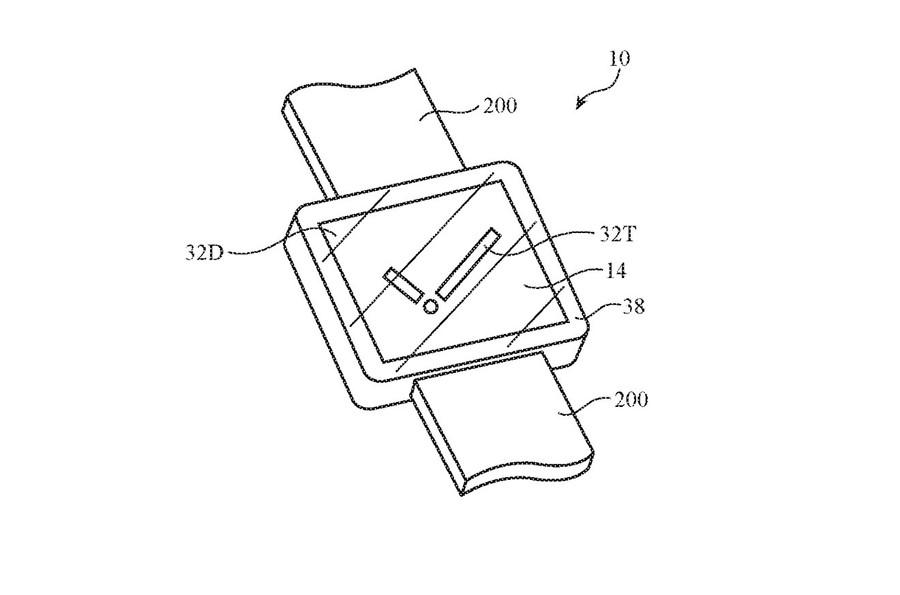
Đồng hồ Apple Watch tương lai sẽ có công nghệ siêu đặc biệt
![]() |
| Ảnh: @Appleinsider. |
![]() |
| Ảnh: @Appleinsider. |
Đồng hồ Apple Watch tương lai sẽ có công nghệ siêu đặc biệt
![]() |
| Ảnh: @Appleinsider. |
![]() |
| Ảnh: @Appleinsider. |
(GLO)- Chào đón năm 2026, Samsung vừa “trình làng” thị trường Việt Nam mẫu máy tính bảng giá rẻ Galaxy Tab A11+, hướng đến nhu cầu giải trí của gia đình.
Việc nhiều người gỡ bỏ ảnh đại diện trên Facebook xuất phát từ lo ngại nền tảng này đang tồn tại lỗ hổng, có thể khiến tài khoản bị khóa hoặc bị hack.
(GLO)- Apple sẽ dời ngày ra mắt iPhone 18 tiêu chuẩn sang đầu năm 2027 thay vì cuối 2026. Nếu tin tức chính xác, đây sẽ là thay đổi lớn trong chu kỳ ra mắt iPhone sau 20 năm.
(GLO)- Tập đoàn FPT vừa bàn giao lô chip nguồn cho công ty điện tử hàng đầu Nhật Bản thông qua Tập đoàn Restar. Đây cũng là lần đầu tiên một doanh nghiệp Việt Nam đưa chip thương mại vào một thị trường khó tính như Nhật Bản.
(GLO)- Ông Yasuhiro Yamane - một nhà báo công nghệ Nhật Bản với hơn 20 năm theo dõi lĩnh vực smartphone và viễn thông – đang sở hữu bộ sưu tập hơn 1.800 chiếc điện thoại di động. Mới đây, ông đã lặn lội sang Hàn Quốc chỉ để mua Galaxy Z TriFold.
Theo Ủy ban Cạnh tranh quốc gia, Công ty VNG xin lùi lịch làm việc vào ngày 31-12 vì chưa hoàn tất nội dung, thông tin tài liệu cần cung cấp.
(GLO)- Ngày 30-12, Sở Khoa học và Công nghệ tỉnh Gia Lai phối hợp cùng Trường Đại học Quy Nhơn tổ chức hội thảo khoa học “Xây dựng Bộ tiêu chí du lịch xanh gắn với sản phẩm du lịch đặc thù tại Khu Dự trữ sinh quyển thế giới Cao nguyên Kon Hà Nừng”.
(GLO)- Bàn chải đánh răng robot mang tên g.eN của Nhật Bản vừa ra đời, cho phép làm sạch chỉ bằng cách đặt thiết bị vào miệng, không cần thao tác bằng tay.
(GLO)- Ngày 29-12, bà Nguyễn Quỳnh Anh - Phó Chủ tịch Ủy ban Cạnh tranh quốc gia (Bộ Công Thương) đã ký giấy mời gửi Công ty cổ phần Tập đoàn VNG (VNG) để làm việc về việc thu thập, sử dụng thông tin người dùng và cung cấp dịch vụ trên nền tảng Zalo.
(GLO)- Chiều 26-12, tại Trường Đại học Quy Nhơn, Phòng An ninh mạng và Phòng chống tội phạm công nghệ cao (Công an tỉnh Gia Lai) phối hợp với Trung tâm Chuyển đổi số (Sở Khoa học và Công nghệ) và Đại học Duy Tân tổ chức diễn tập thực chiến ứng cứu sự cố an toàn thông tin mạng năm 2025.
(GLO)- Không còn độc quyền cung cấp bởi Sony như hiện tại, iPhone 18 dự kiến dùng cảm biến camera CMOS (CIS) do Samsung sản xuất tại Mỹ.
(GLO)- Zalo-một đại diện Việt Nam-lọt vào Top 10 nền tảng nhắn tin phổ biến nhất thế giới, là dấu mốc quan trọng cho một sản phẩm “Make in Việt Nam” trên bản đồ Internet toàn cầu.
(GLO)- Một nhóm nghiên cứu tại Đại học Khoa học Tokyo (Nhật Bản) vừa phát hiện ra công nghệ pin natri-ion, nổi bật với 2 ưu điểm chính về dung lượng và tốc độ sạc. Đây được xem là giải pháp thay thế cho pin lithium-ion hiện nay vốn còn nhiều hạn chế.
(GLO)- Tỉnh Gia Lai vừa tổng hợp nhu cầu vốn đầu tư ngân sách trung ương giai đoạn 2026-2030 trong lĩnh vực khoa học công nghệ, đổi mới sáng tạo và chuyển đổi số; trong đó có dự án xây dựng Bảo tàng số - Bảo tàng Quang Trung nhằm phục vụ bảo tồn và phát huy giá trị di sản.
(GLO)- Nga dự định xây dựng 1 nhà máy điện trên Mặt Trăng trong 10 năm tới (2036) nhằm cung cấp năng lượng cho chương trình không gian Mặt Trăng của nước này và trạm nghiên cứu chung Nga - Trung.
(GLO)- Moore Threads - Công ty thiết kế bộ xử lý đồ họa (GPU) của Trung Quốc vừa chính thức giới thiệu 2 dòng chip mới là Huashan (dành cho AI) và c (dành cho đồ họa), với tham vọng soán ngôi các dòng sản phẩm cao cấp từ “gã khổng lồ” Nvidia.
(GLO)- Các nhà khoa học Trung Quốc vừa công bố loại chip điện toán quang học LightGen có tốc độ và hiệu suất năng lượng vượt xa phần cứng AI của Nvidia tới 100 lần. Công nghệ mới này đặc biệt hiệu quả trong các tác vụ tạo sinh như sản xuất video và tổng hợp hình ảnh.
(GLO)- Ngày 17-12, Bộ trưởng Nội vụ Pháp Laurent Nunez xác nhận vụ tin tặc tấn công nhằm vào máy chủ thư điện tử của Bộ này vào tuần trước, nguy cơ lộ hồ sơ tội phạm trong vài chục tập tin bị đánh cắp thông tin.
Thủ tướng đề nghị TechFest phải trở thành nền tảng thu hút nguồn lực quốc tế, chuyên gia và các tập đoàn công nghệ; thúc đẩy đàm phán, ký kết các hiệp định đầu tư với các quốc gia công nghệ mạnh
(GLO)- Walt Disney và OpenAI vừa công bố 1 thỏa thuận có thời hạn 3 năm, cho phép người dùng tạo và chia sẻ các video ngắn do AI tạo ra với hơn 200 nhân vật từ các thương hiệu Disney, Marvel, Pixar và Star Wars trên nền tảng tạo video Sora của OpenAI và ChatGPT từ năm 2026.
(GLO)- Máy tắm tự động Mirai đang được Công ty Science (Nhật Bản) bán ra thị trường với giá 60 triệu yen (khoảng hơn 10 tỷ đồng). Sản phẩm này được nhiều người chú ý với khả năng tắm và sấy khô người chỉ trong 15 phút.
(GLO)- Mới đây, Neuralink-Công ty chip não do tỷ phú Elon Musk sáng lập-đã công bố một bước tiến vượt bậc khi rút ngắn thời gian cấy ghép điện cực xuống mức kỷ lục chỉ còn 1,5 giây; đồng thời giảm 95% chi phí sản xuất và mở rộng thử nghiệm cho bệnh nhân.
(GLO)- Sáng 12-12, Sở Khoa học và Công nghệ tỉnh Gia Lai tổ chức hội thảo đánh giá kết quả thực hiện Đề án triển khai, áp dụng và quản lý hệ thống truy xuất nguồn gốc (Đề án 100) giai đoạn 2020-2025; đồng thời thảo luận định hướng, giải pháp cho giai đoạn 2026-2030.
(GLO)- Goolge vừa chính thức công bố 2 loại kính thông minh tích hợp 2 AI riêng biệt để cạnh tranh vào năm 2026 với Meta, bao gồm phiên bản có màn hình và 1 loại kính khác chỉ tập trung vào âm thanh.